K2.0010333
Highly adjustable and modular vest. Only the most comfortable and modern fabrics are used for the ARTEMIS vest. Fits any operator with a height from 1.5 m up to 2.1 m/4.9' ...
K2.0054618
Double section articulated support arm with an ultimate payload of 34kg (74.9lbs) based on an exclusive Patented Design. Extremely light and compact: it’s one of the smalle...
K2.0054619
Double section articulated support arm with an ultimate payload of 23kg (50lbs) based on an exclusive Patented Design. Extremely light and compact: it’s one of the smallest...
KK.0020297
The ARTEMIS carbon spring arms offer a lightweight and optimized, state-of-the-art design. The absolutely friction-free ball bearings placed in the extremely stiff and tors...
K2.0054679
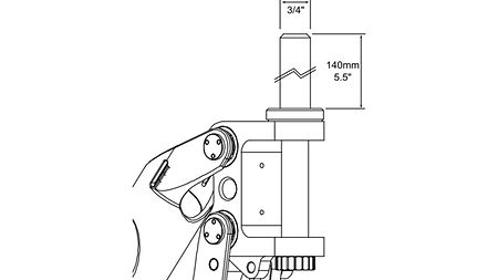
Arm Post 5/8in – Stick Out 140mm / 5.5in For K2.0054618 SmartSystem ArmX1 und K2.0054619 SmartSystem ArmX1Lite + For TIFFEN VOLT Gimbal
K2.0010433
Steel C-stand with detachable Turtle Base . Max. height 155 cm/61" NOTE To park the MAXIMA the Spider (K2.0010425) is needed For all ARTEMIS and TRINITY systems